外观检索
登录
注册
发明公开
CN120502610A
一种变压器母线加工装置
实质审查
AI深度解读
基本信息
权利要求书
说明书全文
PDF全文
附图
法律信息
引用信息
同族专利
相似专利
基本信息:
专利标题:
一种变压器母线加工装置
申请号:
CN202510397095.3
申请日:
2025-04-01
公布(公告)号:
CN120502610A
公布(公告)日:
2025-08-19
申请人:
江苏万阳电子有限公司
申请人地址:
江苏省盐城市盐都区盐龙街道智能终端产业园S-9号(D)
专利权人:
江苏万阳电子有限公司
当前专利权人:
江苏万阳电子有限公司
当前专利权人地址:
江苏省盐城市盐都区盐龙街道智能终端产业园S-9号(D)
发明人:
黄琼进
,
张勇
代理机构:
盐城大马猴知识产权代理事务所(普通合伙)
代理人:
宋心晶
主分类号:
B21D5/04
IPC分类号:
B21D5/04
,
B21D5/00
,
B21D55/00
,
H01F41/04
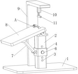
摘要:
本发明涉及母线加工技术领域,具体涉及一种变压器母线加工装置,包括底座,底座上表面固定安装有调节柱与支架,调节柱远离底座的一端通过连接块转动连接有加工平台,加工平台上表面设置有微型电机,微型电机的输出端设置有丝杆,丝杆螺纹连接有滑块,滑块固定连接有调节辊,调节辊下方设置有限位组件,限位组件固定安装在调节柱上的两组连接块,支架固定连接有电动推杆的一端;本发明通过微型电机驱动丝杆转动,丝杆通过螺纹作用带动滑块在滑槽内平稳、直线移动,滑块通过调节辊对母线进行稳定的夹持处理,从而有效解决了母线在被折弯期间发生移位的问题,避免了母线损伤,显著提高了母线的加工精度和成品质量。
IPC结构图谱:
B
作业;运输
B21
基本上无切削的金属机械加工;金属冲压
B21D
金属板或管、棒或型材的基本无切削加工或处理;冲压
B21D5/00
沿直线弯曲金属板,如形成简单曲线形
B21D5/04
.在工件一边利用夹紧装置的压弯机上